https://mybryansk.ru/news/id-108740-klassika-vozvraschaetsja-rolls-royce-patentuet-kapot-s-raspashnymi-stvorkami
Классика возвращается: Rolls-Royce патентует капот с распашными створками
Капот-шкаф снова в моде? BMW готовит технологию для Rolls-Royce
Классика возвращается: Rolls-Royce патентует капот с распашными створками
Капот-шкаф снова в моде? BMW готовит технологию для Rolls-Royce
2025-11-19T12:49+03:00
2025-11-19T12:49+03:00
2025-11-19T12:49+03:00
/html/head/meta[@name='og:title']/@content
/html/head/meta[@name='og:description']/@content
https://mybryansk.ru/uploads/prew/inner_webp/LWEU6r3BoMifcDwHz8A.WEBP
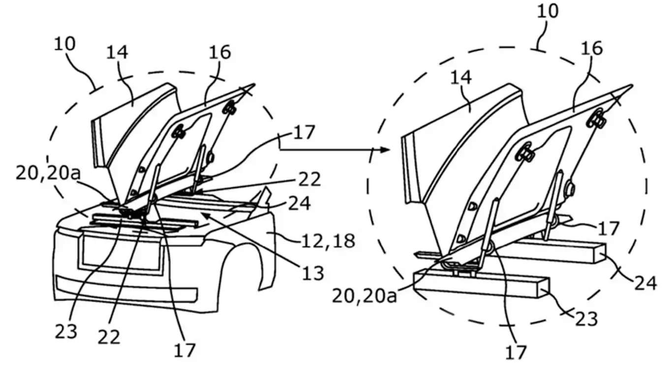
В базе WIPO появилась патентная заявка от BMW AG, в которой описывается оригинальный капот, состоящий из двух половин с центральными петлями — классическое решение, ранее использовавшееся на автомобилях первой половины XX века. Хотя в документе бренд Rolls-Royce напрямую не упоминается, схема подозрительно напоминает силуэты моделей Phantom, Ghost, Spectre и Cullinan, пишет TARANTAS.NEWS.Согласно заявке, существует два варианта исполнения: один — с центральным открыванием, другой — с четырьмя петлями у основания лобового стекла. Такая архитектура капота не только эффектна, но и может быть функционально адаптирована под электромобили — для доступа к силовому блоку или переднему багажнику. Подобный подход уже был реализован на лимитированной модели Boat Tail, где «распахивающийся» багажный отсек стал одной из главных фишек.Теперь конструкция может найти применение и на более массовых моделях. Возвращение такого элемента — это не просто дань истории, а способ подчеркнуть уникальность и театральность взаимодействия с автомобилем. В эпоху унификации и электрификации, когда капоты становятся всё менее востребованными в ежедневной эксплуатации, Rolls-Royce предлагает превратить их в шоу, где даже открытие моторного отсека станет эстетическим действием.
Мой Брянск
info@mybryansk.ru
Мой Брянск
2025
В мире
ru-RU
Мой Брянск
info@mybryansk.ru
Мой Брянск
Мой Брянск
info@mybryansk.ru
Мой Брянск
Классика возвращается: Rolls-Royce патентует капот с распашными створками
Капот-шкаф снова в моде? BMW готовит технологию для Rolls-Royce
Автор:
Владислав Дегтярёв
, Редактор Фото: © press.rolls-roycemotorcars.com
В базе WIPO появилась патентная заявка от BMW AG, в которой описывается оригинальный капот, состоящий из двух половин с центральными петлями — классическое решение, ранее использовавшееся на автомобилях первой половины XX века. Хотя в документе бренд Rolls-Royce напрямую не упоминается, схема подозрительно напоминает силуэты моделей Phantom, Ghost, Spectre и Cullinan, пишет TARANTAS.NEWS.
Согласно заявке, существует два варианта исполнения: один — с центральным открыванием, другой — с четырьмя петлями у основания лобового стекла. Такая архитектура капота не только эффектна, но и может быть функционально адаптирована под электромобили — для доступа к силовому блоку или переднему багажнику. Подобный подход уже был реализован на лимитированной модели Boat Tail, где «распахивающийся» багажный отсек стал одной из главных фишек.
Теперь конструкция может найти применение и на более массовых моделях. Возвращение такого элемента — это не просто дань истории, а способ подчеркнуть уникальность и театральность взаимодействия с автомобилем. В эпоху унификации и электрификации, когда капоты становятся всё менее востребованными в ежедневной эксплуатации, Rolls-Royce предлагает превратить их в шоу, где даже открытие моторного отсека станет эстетическим действием.